Enigmatic Devices
12 posts

Enigmatic Devices
@EnigmaticDev
Esoteric engineering. Real technomancy and imaginative science.
Beigetreten Haziran 2020
26 Folgt40 Follower

Who knew Cumming Ga. was a UFO hot spot? #UFO
enigmaticdevices.com/which-cities-t…
English

Are black triangle UFOs aliens or military tech? Surprising insights from data mining the NUFORC database.
enigmaticdevices.com/data-mining-bl…
#ufo #ufos #ufosighting
English

The weird tale of the symbolic Hieronymus Device. The only parts are printed symbols.
youtu.be/0pSGL6NkNrQ

YouTube
English

How about building your very own Symbolic Hieronymus Device? You know you need one.
enigmaticdevices.com/building-the-s…
#fringescience #psi #radionics #scienceFiction #esoteric
English

The weird story of the Symbolic Hieronymus Machine link.medium.com/2qLP8FOnggb
English

Can Plants Influence the Ordering of Random Numbers? Replicating the Weird Experiment from CE5
youtu.be/ublYBUehUxc
#CE5

YouTube
English

Can plants affect the ordering of random numbers? Can they bend probability to favor their growth? Our take on the "plant intention" experiment from Close Encounters of the 5th Kind.
enigmaticdevices.com/replicating-th…
#CE5 #concsciousness #plantintelligence

English

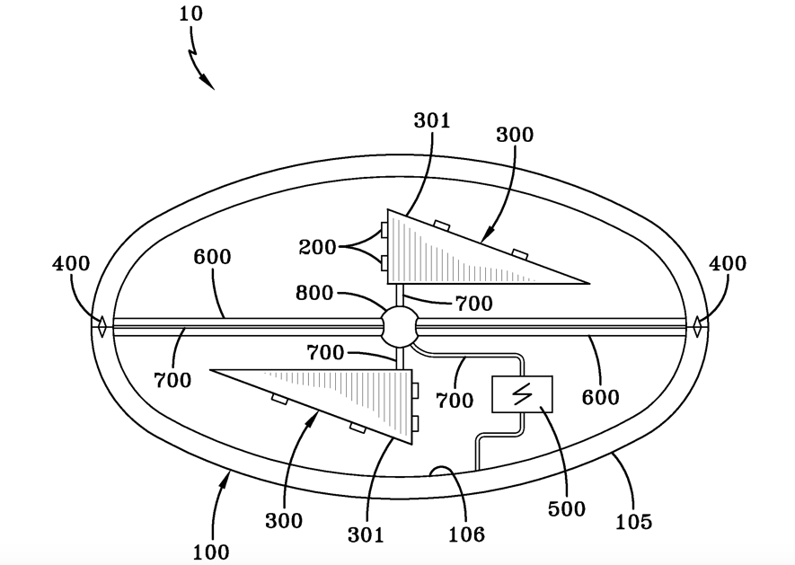
Navy patent granted for a gravitational wave generator? um...is the military disturbing the curvature of spacetime?
enigmaticdevices.com/us10322827b2-h…
#OddPatents

English

If We’re Living in a Simulation, Can Randonauting Break Us Out? link.medium.com/EXUlvLPkodb
English

How about building your own Randonauts device? #Randonauts #randonauting
enigmaticdevices.com/building-your-…

English