Sabitlenmiş Tweet

📢 New patent application alert!
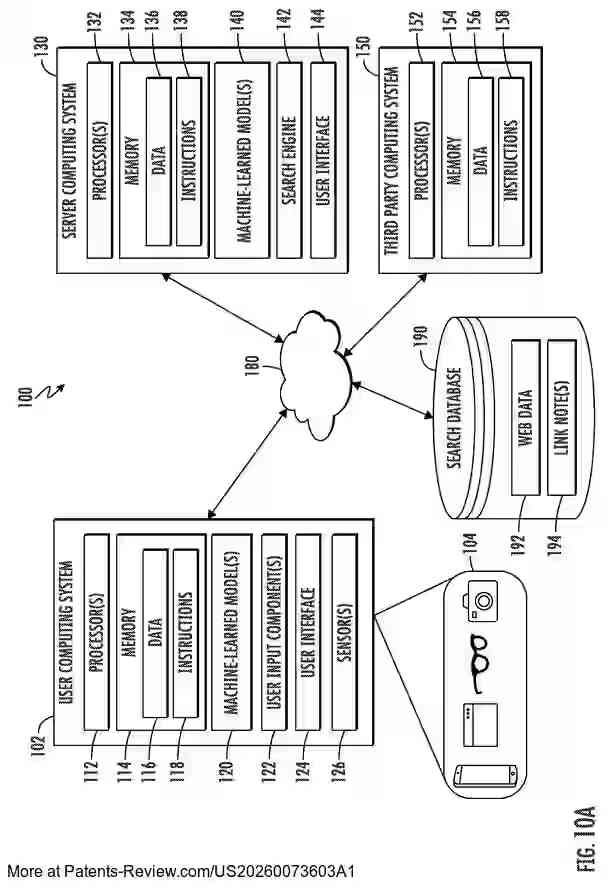
#US20260073603A1 by #Google $GOOGL introduces a system for #ContextBased animated image generation from videos. This tech uses user-generated content to search video segments, processes them to create animated images, and outputs them. It involves sentiment analysis, audio transcription, key frame extraction, and sequence-based rendering.
#PatentApplication #AI



English











































