Craig Stevens retweetledi
Craig Stevens
3.1K posts

Craig Stevens
@craste2000
Sutton coldfield, Birmingham Katılım Kasım 2011
1.3K Takip Edilen883 Takipçiler

@SawyerMerritt But you’d have them actually washing the dishes so you don’t need a dishwashing machine surely? 😁
English

NEWS: Humanoid robotics company Figure has released Helix 02, what they claim in their most capable humanoid model yet.
"A single neural system that controls the full body directly from pixels, enabling dexterous, long horizon autonomy across an entire room:
• Autonomous, long‑horizon loco-manipulation: Helix 02 unloads and reloads a dishwasher across a full-sized kitchen - a four-minute, end-to-end autonomous task that integrates walking, manipulation, and balance with no resets and no human intervention. We believe this is the longest horizon, most complex task completed autonomously by a humanoid robot to date.
• All sensors in. All actuators out: Helix 02 connects every onboard sensor - vision, touch, and proprioception - directly to every actuator through a single unified visuomotor neural network.
• Human-like whole body control from human data: All results are enabled by System 0, a learned whole‑body controller trained on over 1,000 hours of human motion data and sim‑to‑real reinforcement learning. System 0 replaces 109,504 lines of hand‑engineered C++ with a single neural prior for stable, natural motion.
• New classes of dexterity: With Figure 03’s embedded tactile sensing and palm cameras, Helix 02 performs manipulation that was previously out of reach: extracting individual pills, dispensing precise syringe volumes, and singulating small, irregular objects from clutter despite self‑occlusion.
Helix 02 is trained on over 1,000 hours of human motion data and integrates vision, touch, and proprioception."
English
Craig Stevens retweetledi

Jimmy Carr nails tough-love parenting: “Hard choices now, easy life later.”
Kids want TV, junk food, instant fun. Give in every time = “fat, stupid kids.” Real kindness isn’t caving in the moment—it’s loving who they could become more than who they are right now.
So sometimes you gotta be “a little bit mean” in the moment to build disciplined, capable adults.
The kindest parents aren’t the nicest in the short term—they’re the ones willing to absorb the tantrum so the child doesn’t pay for it forever.
Parents: What’s one “mean in the moment” boundary you set that paid off big later? Share your story.
English
Craig Stevens retweetledi

@mymixtapez Parents did a fine job bringing that lad up, he sounds like a really nice guy! 👌🏻. I remember crying with happiness when I got my Raleigh Mag Burner BMX for Christmas! Magical times!
English

‘DJ Craig Stevens Ibiza Pulse Radio Boxing Day Business (Tech House/House/Funky House)’ is on on.soundcloud.com/DTRNtSpMnenn0C…
English

@SawyerMerritt Tesla cameras need eyelids. To clean lenses and to block out the sun. You know it’s coming!
English

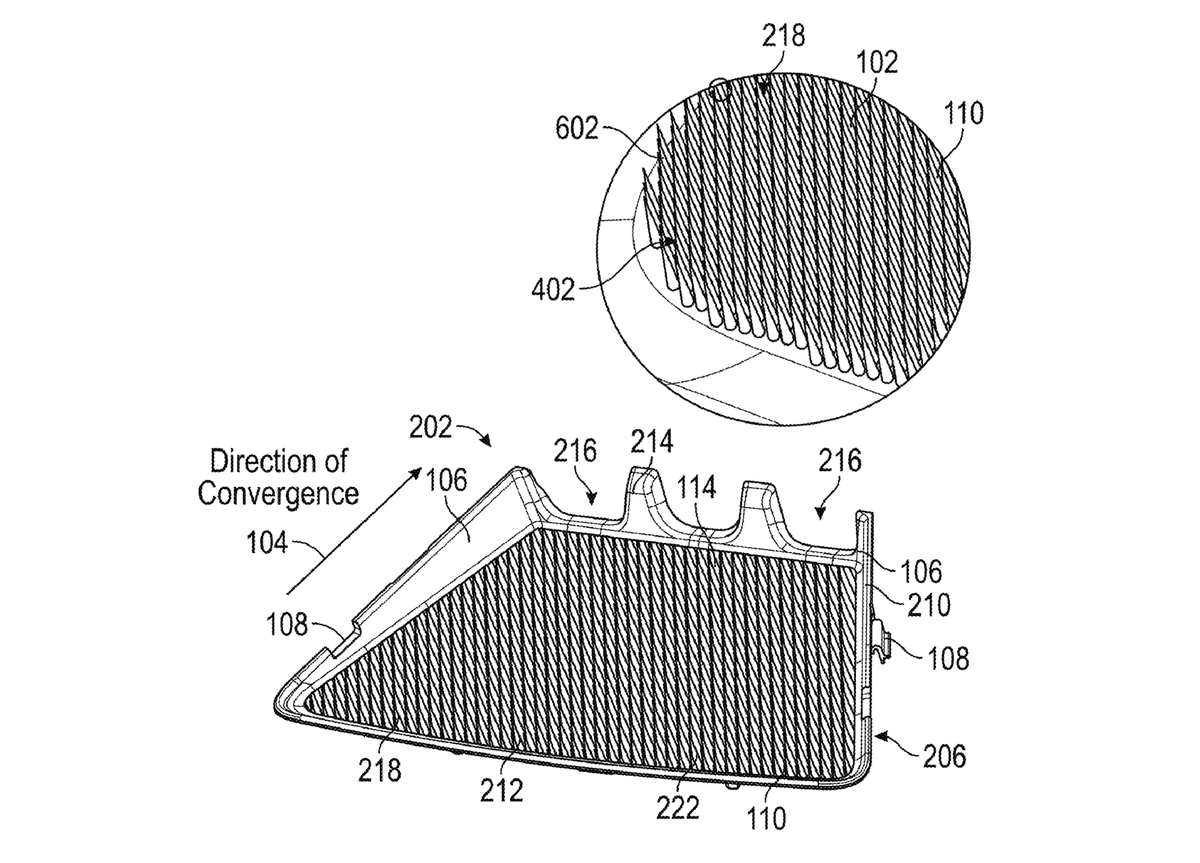
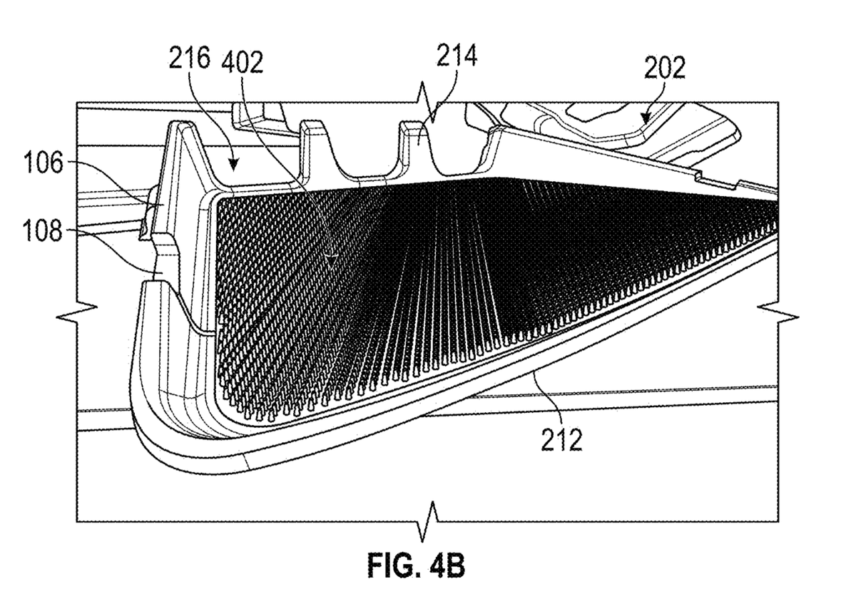
Tesla patent from October reveals Tesla is developing a high-tech camera shield featuring light-swallowing micro-cones, and a motorized mechanism to actively tilt a glare shield depending on the sun’s position.
Patent abstract: "The glare shield features a textured surface composed of an array of micro-cones, or cone-shaped formations, which serve to scatter incident light in various directions, thereby reducing glare and improving camera vision. The micro-cones are optimized in size, angle, and orientation to minimize Total Hemispherical Reflectance (THR) and reflection penalty, enhancing the camera's ability to accurately interpret visual data. Additionally, the glare shield may include an electromechanical system for dynamic orientation adjustment in response to the position of external light sources, such as the sun. The manufacturing process of' the glare shield utilizes a sintered tool steel insert, facilitating venting during molding and ensuring the precision of the cone-shaped texture."




English
Craig Stevens retweetledi

@NadiaWhittomeMP Cruel. How the fuck is it cruel. If you can’t afford kids keep your fucking legs closed. Why the fuck are we paying for 18,000 families with over 6 kids…
You are penalizing hard working people who made responsible choices..
English
Craig Stevens retweetledi

I work often work in neighbourhoods where most who live there don’t work. While I'm up and at it at 7.30, you won't see them before 11, unless they're on the school run, in their PJs, then in their 25 plate car on pip, then straight back to bed.
Old slippers and pizza boxes are strewn about in the streets, weed hangs in the air, little kids play in gardens full of rubbish and broken trampolines. They've all got dogs, they've all got phones and everything else. I'm 50 almost, and working since before I left school is taking its toll.
On Wednesday Labour are going to fuck me, you and every other worker over again to pay for this shit show, raising other people's kids and feeding and housing an invading army of people that hate us and abuse our women.
We're fools to put up with this, history will view us as idiots if we do.

English

@TheGreenParty Vote Green if you want to destroy 🇬🇧 even quicker than Labour. 🤡🤡🤡🤡🤡🤡🤡
English

“If you go back a million minutes, you reach 2023. Go back a billion minutes, you reach the Roman Empire — that’s the scale of inequality we’re living with.”
Zack Polanski on #BBCLauraK discussing inequality and why a wealth tax should be in the budget
English

Craig Stevens retweetledi

Operation: France Stop The Boats Part II
STOPPING The Boats, whether the migrants or government like it or not!
Support or Join today: raisethecolours.org.uk/donate
@elonmusk @TRobinsonNewEra @liamtuffs1 @RealDannyTommo @KTHopkins @GBNEWS @marrinerj8 @RupertLowe10
English
Craig Stevens retweetledi
Craig Stevens retweetledi

@TRobinsonNewEra A proper government which had the interests of its people at its heart would say it’s a national emergency and would make some big changes. But ours won’t, we are being taken for fools. At what point do we all collectively break?
English










