Sabitlenmiş Tweet

#شروحات_قيمنق ؛
تحت هذي التويته بنزل شروحات لاشياء
بتحتاجها كثير في البلايستيشن 5 ؛
لايك لانك بترجعلها 💙
رتويت علشان تفيد غيرك 🔁
#PlayStation5

العربية
™فانوس
55.4K posts

@iFanoos
| يوتيوبر و قيمنق | مهتم بتغطية الاحداث و اخبار الالعاب نقلها بشكل احترافي للمتابع |








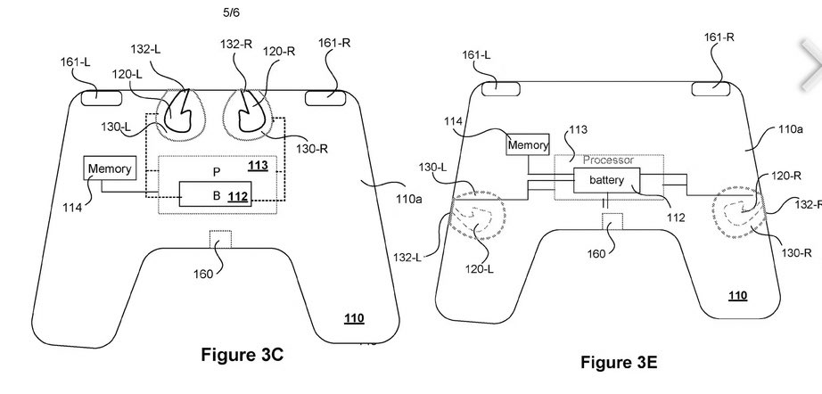
🗞️| خبر رسمـيا || سجلت شركة بلايستـيـشن براءة إختراع جديده ليد البلايستيشن لـPS5 من ابرز مميزاتها هو مكان خاص لشـحن سماعات “ Earbuds “ الجـديـده كليا.😍🎮! #PlayStation5 #PS5



