Nat Levy
1.3K posts

Nat Levy
@NatJLevy
Lead writer for University of Texas' Cockrell School of Engineering. basketball fanatic.
Austin, TX Katılım Mayıs 2009
1.1K Takip Edilen1.7K Takipçiler
Nat Levy retweetledi

Greetings: check out the new series Killers Of The Cosmos" S1E3 - "Cosmic Scrap" where I make a guest appearance taking about space environmentalism. Looks like it’s on the Science Channel and Discovery 🙏🏾💙🤙🏾 imdb.com/title/tt153344…
English
Nat Levy retweetledi

I was on @NPR @Marketplace yesterday talking about the costs and benefits of #electricity resilience investments in the aftermath of #HurricaneIda. Segment starts ~4:30 in Sept. 1 episode. Thanks to @andy_uhler for having me on! @ut_orie @CockrellSchool
npr.org/podcasts/38144…
English


@johnhcook @GreatClips Talent I didn't think I'd obtain this year: cutting my own hair.
English

Ugh, my third at-home Covid cut. Thought I’d only need one of these when this mess started. Never wanted to get back to @GreatClips so badly!

English

@JoeBugBuster @geekwire @CockrellSchool Thanks Steve. At first I thought I had coronavirus, but I got lucky and avoided it ... for now.
English

@NatJLevy @geekwire @CockrellSchool Congrats on the new gig - when you're feeling well enough to enjoy it. 😊
English

Does the #personalnews thing work when you never tweet? Last week I finished up a wonderful 3.5-year run with @geekwire. Starting tomorrow I will embark on a new adventure at @CockrellSchool writing about engineering breakthroughs. Thanks everyone for reading!
English

@NatJLevy Np :) But it looks like you've mistakenly linked to Freepatentsonline twice instead of Windows Latest.
English

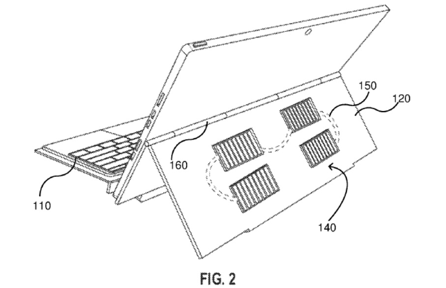
@NatJLevy Hi, heads up: It looks like Microsoft is building a Surface Pro Type Cover that can hold Solar panels on its back and recharge the device when it is in a usable position windowslatest.com/2020/01/10/sur…

English

TwinStrand raises $16M from Madrona and others for next-gen DNA sequencing, promising early cancer detection and other breakthroughs. Tip @Techmeme geekwire.com/2020/twinstran…
English

Amazon’s Ring will update app to let customers opt out of receiving police video requests. Tip @Techmeme geekwire.com/2020/amazons-r…
English
Nat Levy retweetledi

This is some excellent work right here from @TheAtlantic's @AshleyFetters. Required reading for all #parents. theatlantic.com/family/archive…
English

#Amazon's massive logistics network continues to grow. geekwire.com/2019/amazon-do…
English

#Amazon's #HQ2 announcement came one year ago today. @mnickelsburg and I look at what has happened since. geekwire.com/2019/amazon-hq…
English




