Sabitlenmiş Tweet
SomeoneGo
5.5K posts

SomeoneGo
@SomeoneGo1
Dream - Build - Ride | Ride Op @ CGA 2019-2023 | 🚨#dbr_roller_coaster_updates🚨 | #rc_photochallenge | Coasters, music, and big ideas—just being me.
Cedar point, OH Katılım Haziran 2018
158 Takip Edilen132 Takipçiler
SomeoneGo retweetledi
SomeoneGo retweetledi
SomeoneGo retweetledi

Cedar Point’s Next BIG Coaster & 5-Year Plan (2027–2031) 🎢👀
The NEXT Record Breaker?
▶️-- youtu.be/7hapdd-jRLM

YouTube

English
SomeoneGo retweetledi
SomeoneGo retweetledi
SomeoneGo retweetledi
SomeoneGo retweetledi
SomeoneGo retweetledi
SomeoneGo retweetledi

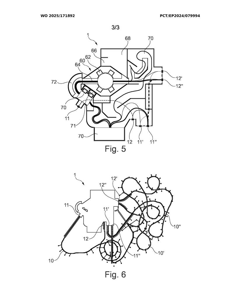
@uwurawrus Mack Rides has filed patent WO2025171892A1. Filed Oct 2024, published Aug 2025.
English

Mack appear to have patented a new trackless dark ride system that can dock onto a coaster train halfway through the experience. It sounds like a super weird concept but interesting nontheless! Euro Mir 2? 👀
worldwide.espacenet.com/patent/search/…


English
SomeoneGo retweetledi

#Backstage at #Starwars #RiseoftheResistance - this is on the I-TS transport turntable. Its a path for maintenance and guest evacuations. The giant "TV" is the view out of the front. #GalaxysEdge #Disneyparks




English
SomeoneGo retweetledi
SomeoneGo retweetledi
SomeoneGo retweetledi

🚨#dbr_roller_coaster_updates🚨
Dollywood itself is not closing. Reports stem from Herschend Family Entertainment (Dollywood’s parent) shuttering two Atlanta-area family fun centers: Malibu Norcross & Mountasia Marietta. Closures take effect Sept 28, 2025.
English



























