undumped retweetledi
undumped
85 posts

undumped retweetledi

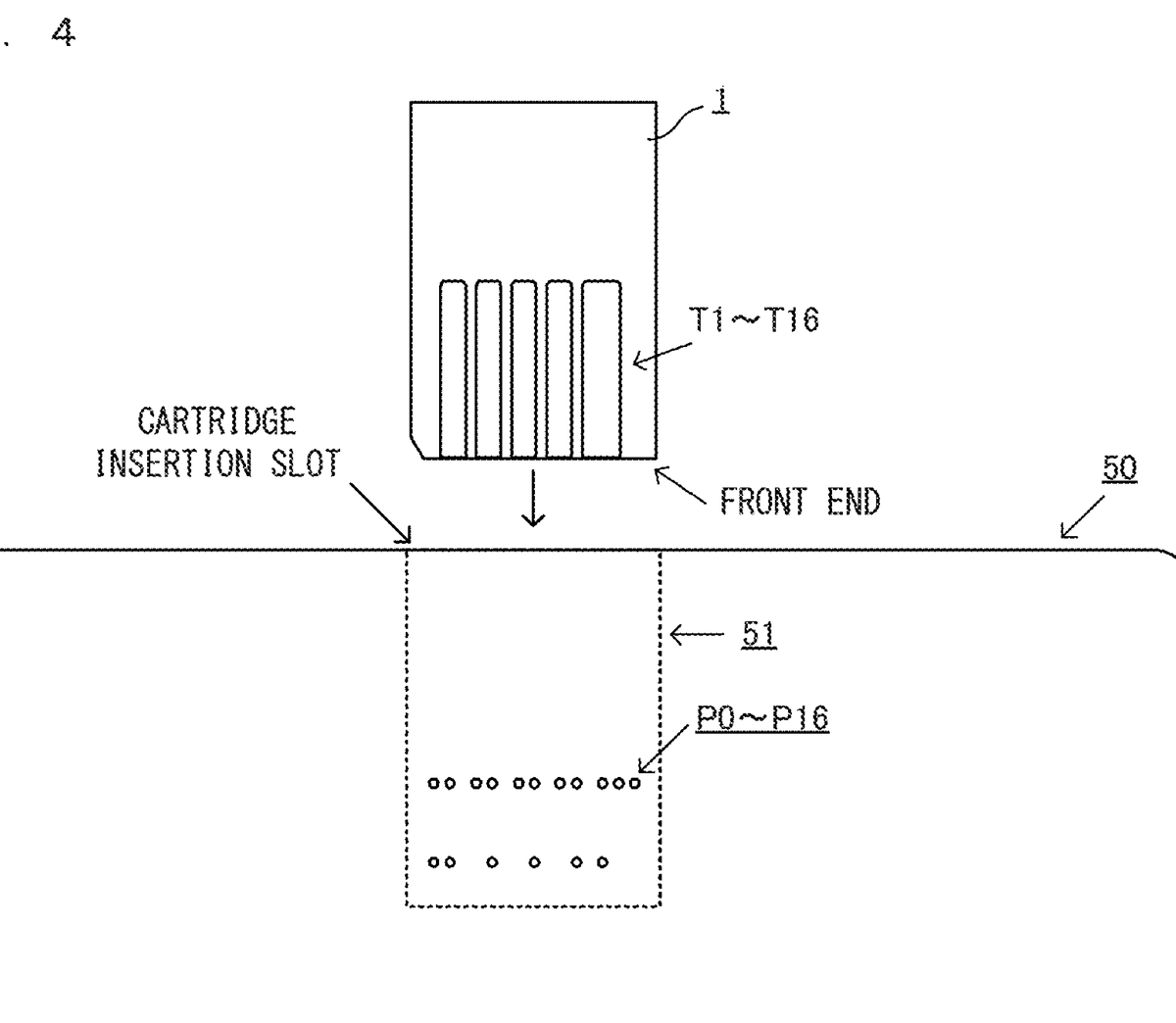
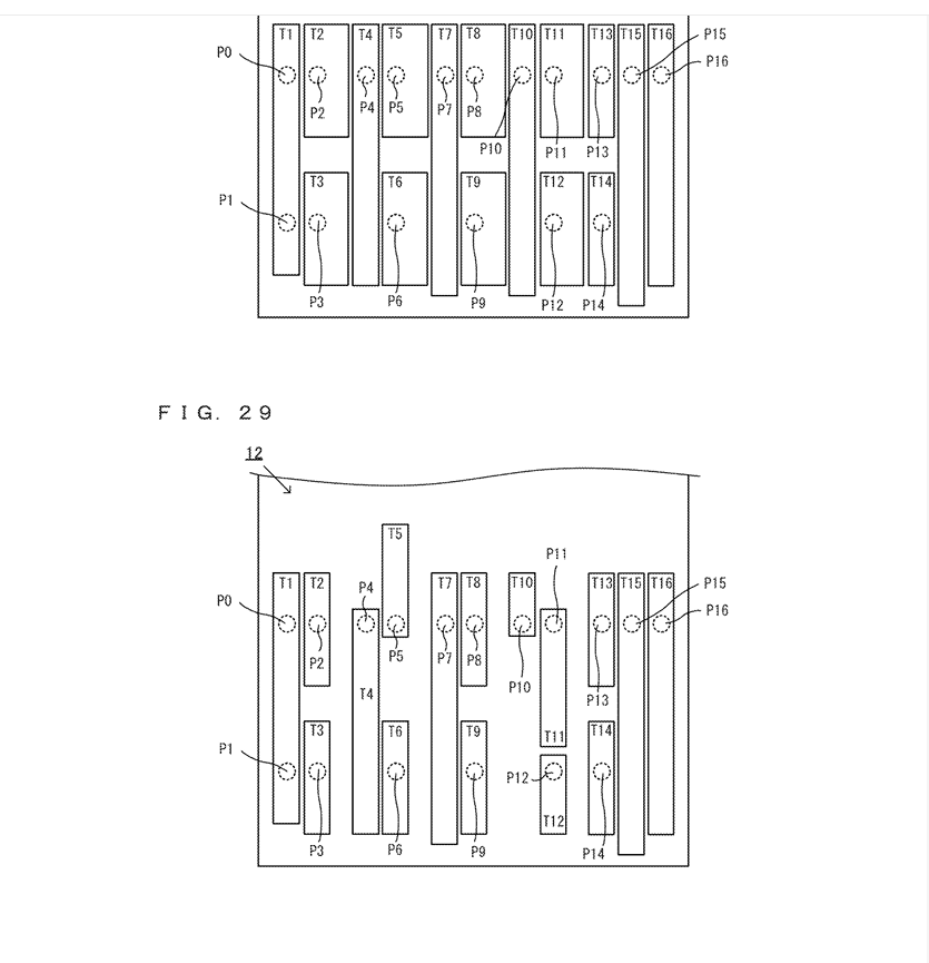
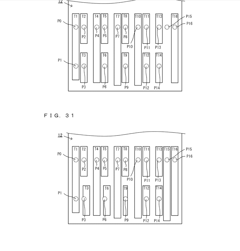
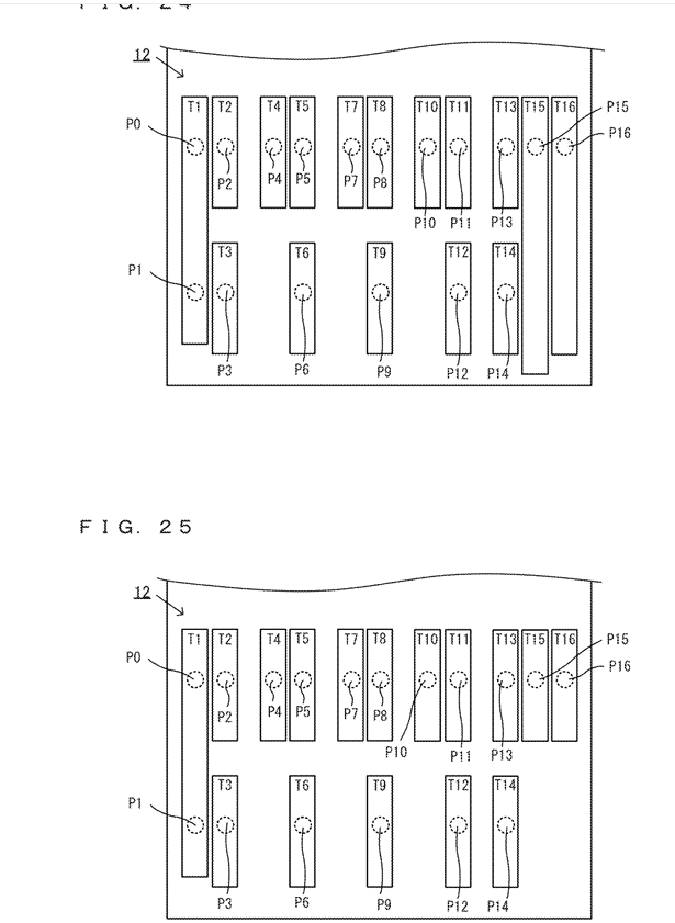
So, a new patent reveals how Nintendo might separate Switch from Switch 2 cartridges. Switch 2 can play both types of cartridges since they are compatible with the cartridge pattern. However, Switch 2 cartridges won’t fit into Switch 1 due to the different pattern. United States Patent Application Publication20250023264




English
undumped retweetledi

@collin_babin hey! all composite photo(graphs) are PHOTOS! not all photos are composites! also some cameras can even natively take COMPOSITES with no editing! hope this helps !
English
undumped retweetledi
undumped retweetledi

In an amazing turn of events, @YuviApp has preserved the ENTIRETY of Professor Layton and the Mansion of the Deathly Mirror! All six chapters were found on a junk F906i. Previously, we only had the first three chapters. An English translation will happen in due time! (1/3)



English

THE XTRACTOR !!!
Like the UnlockSwitch PBS, the Xtractor is upgradable over time using the SAME programmer. The Xtractor ’s main feature is its ability to back up your original Switch games onto your PC or Mac (Mac support is currently in development).
We've also included a microSD port directly on the Xtractor to make it easier to transfer your original games.
In summary:
The Xtractor is programmable and therefore upgradable.
You can back up your games to your computer or directly onto the integrated microSD card with a simple copy-past
The PC version will be available at launch.
Mass Production for the UnlockSwitch PBS and Xtractor will begin in early September.


English
undumped retweetledi
undumped retweetledi
undumped retweetledi
undumped retweetledi
undumped retweetledi
undumped retweetledi

undumped retweetledi
undumped retweetledi
undumped retweetledi

We will produce 50 free demo samples of the UnlockSwitch first version.
Would you like to have your free sample too? Simply like and share this post. We will select your names and display them later.
After receiving your sample, we expect just one thing from you! Test it, give us your real opinion, and share your experience.
Here is the list of the first 10 lucky ones :
@nickmo05
@Nintendeal
@NanospeedGamer
@TricksNin
@Eitjuhh
@SenhorLinguica
@Romain_J
@SwitchTools
@RGT_85
@bander_alali
English
undumped retweetledi

Voici l'IWASAKI PROS-80F, le même ordinateur que l'on voit chez Nintendo Of America en "88 et dans un magazine Japonais en "86 (ファミリーコンピュータマガジンNO11)
youtube.com/watch?v=59JesM…
@FlorentGorgesFR

YouTube



日本語



































