
Arca
40.2K posts

Arca
@arcamids
$LINK v01 | $ETH | $BTC Uncultured American. Anti-Communist. Trader. Everything is fake. Anti-bag. Crypto Psyops & Patents. Political Psyops. Self-custody maxi.


1/ This is where paying attention makes all the difference. Who else has these receipts?! Same inventors. Same platform. Two patents, published 2 years apart. The 2026 filing turns CDXchange into something TradFi has never seen. $LINK is named in the architecture. 🧵👇

1/ Every time I read a new DeFi patent I play a game: Is this secretly another $LINK dependency? Today’s patent on cross-chain atomic swaps literally cites the @chainlink 2.0 whitepaper and describes the exact architecture oracle networks like $LINK enable. Coincidence? 🧵

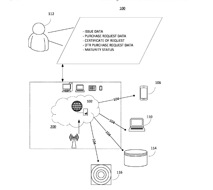
Two new $LINK @chainlink patent mentions this morning (@Nike I see you 👍) 1) CRYPTOGRAPHIC DIGITAL ASSET ARCHITECTURE WITH SELECTIVELY-LOCKABLE DYNAMIC EVOLUTION link: patentsgazette.uspto.gov/week10/OG/html…



























