IG: Stancedmdl3
4.4K posts

IG: Stancedmdl3
@16luca
IG:Stancedmdl3 come take a look. โค๏ธ๐ค

A fleet of R2 Robotaxis is coming exclusively to @Uber. โก๐ฟ Today, we announced a partnership to help both companies accelerate their autonomous vehicle plans across 25 cities in the US, Canada and Europe by the end of 2031. rivn.co/uber















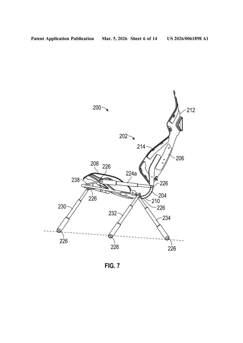
๐จTESLA PATENTS A ONE-PIECE COMPOSITE SEAT FRAME FOR ITS NEXT VEHICLES The next-generation @Tesla Roadster is set for its April 1 unveil. But what will the seats look like in a $200,000 electric supercar that promises sub-2-second acceleration? A patent published today, March 5, 2026, offers a detailed answer. Tesla has filed for a vehicle seat system built around a single continuous composite frame that replaces the dozens of metal parts found inside a conventional car seat [0023]. The seat portion, backrest, headrest, bolsters, and hinge are all formed as one monolithic structure [0028]. Instead of bolting and welding separate pieces together, Tesla thermoforms the entire frame from layered composite plies and then overmolds it with polymer features. That structure raises a question: what exactly is wrong with how seats are built today? โ ๏ธ The Problem Traditional car seats are assembled from a metal frame, a separate recliner mechanism, foam padding, bolsters, headrest supports, and dozens of brackets, screws, and rivets. A typical seat structure involves 13 or more major part groups, each with its own sub-components, tooling, and supplier [0001]. The mechanical complexity is not limited to part count. Each connection point between frame sections introduces potential play, noise, and fatigue over the vehicle's lifetime [0002]. The recliner hinge alone can contain gears, pins, bearings, and locking teeth that must be precision-matched. Think of assembling a suit of armor from individual plates, each riveted and strapped together. Every joint is a potential failure point, every plate adds weight, and the final fit depends on how well each piece was matched to the next. For a performance vehicle like the Roadster, these constraints hit harder. Every kilogram in the seat is a kilogram not available for battery range. Seat thickness directly translates to lost cabin space in a low-slung sports car. ๐ฆด Core Innovation 1: The Monolithic Composite Frame Tesla's patent describes the entire seat skeleton as a continuous frame that integrates the seat portion, backrest portion, hinge portion, and headrest portion into a single structure [0028]. The frame can be made from fiberglass-nylon, nylon-carbon, or Kevlar-nylon composites formed through thermoforming [0029]. The result is a seat frame manufactured as one part, reducing the number of components and assembly steps required [0149]. The bolsters, which provide lateral support during cornering, are also formed as part of this continuous structure [0030]. There is no seam, no joint, and no separate bracket between the backrest and the bolster that wraps around the occupant's torso. This is the same manufacturing logic that drove Tesla's megacasting strategy for vehicle bodies. In 2020, Tesla replaced 70 stamped steel parts in the Model Y's rear underbody with a single aluminum casting. This patent applies that consolidation principle to the seat. For the Roadster, a Kevlar-nylon or carbon-nylon frame would deliver the strength-to-weight ratio demanded by a car targeting hypercar-level performance. The composite can be tuned during layup to be rigid where support is needed and thin where space is at a premium. ๐ Core Innovation 2: Tunable Stiffness Zones and a Material-Defined Pivot Axis A single-piece frame creates an engineering problem: different regions of the seat need different mechanical properties. The backrest must be stiff enough to support a torso under hard braking. The seat pan must be rigid under load. But the hinge between them must flex to allow reclining. Tesla solves this by varying the composite ply count, thickness, and material across six distinct stiffness regions within the same continuous frame [0033]. The hinge portion includes a first region, a second region, and a third region, each with different stiffness, while the backrest, seat, and headrest have their own tuned zones [0034]. The stiffness gradient also defines where the seat bends. The patent describes an effective pivot axis located within the hinge portion, positioned to match the natural pivot point of a human skeletal structure [0042][0147]. A reinforcement link made of metal or composite can further define and stabilize the pivot location [0041]. Think of it as a living hinge on a plastic bottle cap, but engineered with aerospace composites and tuned to match the biomechanics of the human lower back. ๐น๏ธ Core Innovation 3: Six-Degree-of-Freedom Actuator Control Most car seats adjust in two or three ways: forward-back on rails, up-down with a pump, and recline with a lever. Each movement uses its own dedicated mechanism. Tesla's patent replaces this patchwork with four pairs of linear actuators that, working in combination, produce six distinct seat movements from a unified control system [0049]. The patent names four actuator pairs: fore, middle, aft, and recline, each connecting the continuous frame to the chassis at different points [0050]. A detailed actuation table maps how specific combinations produce each movement [0059]. For example, moving the seat forward requires shortening the fore and middle actuators while lengthening the aft pair. The same logic applies to height, tilt, and recline, each as a different combination of the same four inputs. This architecture eliminates the separate track, height pump, and tilt mechanisms that add weight and complexity to conventional seats. It also enables software-defined seat positions. A controller can store and recall precise multi-axis positions, enabling one-touch presets for different drivers or driving modes. For the Roadster, this means a track-day position and a highway cruising position could be a single button press apart. The seat can drop low and tilt back for high-speed stability, then rise and move forward for city driving. ๐ฏ Why This Matters The megacasting playbook that Tesla proved on vehicle bodies is now moving inside the cabin. This patent signals the next front of part consolidation. The timing is significant. The Roadster unveil is weeks away, and the patent's composite material options read like a specification sheet for a performance vehicle. Kevlar-nylon and carbon-nylon composites are not cost-effective choices for a $40,000 sedan. They are exactly the materials you would select for a $200,000 supercar where weight and stiffness are non-negotiable. But the patent is written broadly. The claims cover any automotive vehicle, and the composite options include commodity materials like fiberglass-nylon alongside the premium options [0029]. The six-degree-of-freedom actuator system is equally relevant to the Cybercab, where software-controlled seat positioning could enable automatic adjustment between riders in a robotaxi fleet. Tesla's unboxed manufacturing process for the Cybercab demands minimum part counts, and a single-piece seat frame fits that constraint precisely. The deeper strategic play is vertical integration of the seat. Traditional automakers outsource seats to tier-one suppliers like Adient, Lear, or Magna. These suppliers assemble metal frames from stamped components, add foam, trim, and mechanisms, and deliver finished seats just in time to the assembly line. Tesla's patent describes a seat frame that can be thermoformed in-house and overmolded on-site, potentially bringing seat manufacturing inside the Gigafactory [0143]. The airbag integration adds another layer. Because the bolsters are part of the continuous frame, Tesla can shape them to guide airbag deployment along a predetermined trajectory [0035]. Left and right bolsters can be configured with different shapes to optimize protection asymmetrically. A monolithic frame makes this trajectory predictable by design. The Roadster may be the first application, but the architecture is designed to scale across the lineup. ๐ผ๏ธ Key Figures [FIG. 4: Recline positions P1-P3 demonstrating pivot axis and range of motion] [FIG. 7: Multi-actuator layout showing four actuator pairs connected to chassis and frame] [FIG. 13: Ribbed seat assembly showing structural reinforcement integration] ๐๏ธ Bibliography Patent No.: US20260061898A1 Title: VEHICLE SEAT SYSTEM Assignee: Tesla, Inc. Inventors: Cheng Hao Yuan, Olav Barry Sadoo, Andrew Robert Squires Filed Date: 2024-09-03 Published Date: 2026-03-05


























