NotChaseCantMiss
153 posts

NotChaseCantMiss
@ChaseCanMiss
@Chasecantmiss was hacked💔💔💔|21|@ChicagoBears|@spurs|@Cubs|@NHLBlackhawks
Katılım Temmuz 2023
473 Takip Edilen49 Takipçiler
NotChaseCantMiss retweetledi

Illinois freshman guard Keaton Wagler – ranked No. 5 in ESPN's Top 100 – has declared for the 2026 NBA draft, his agency ProMondo Sports tells me and @JeremyWoo. Wagler led the 28-9 Fighting Illini to the Final Four for the first time since 2005.

English

The #Illini have news of its first player to leave the roster. Mihailo Petrovic
Great teammate, did what he could with unexpected circumstances. Good luck to Mihailo
armchairillini.com/illinois-baske…
English

@Nick51241 @GouldMatth53798 @cody_illini You’re on here spewing out bullshit and then saying “Oh sorry but because you don’t pay for some stupid ass money grab article website I’m not gonna tell you anything” go be douchy somewhere else Illinois fan or not you acted like a dickhead
English

@GouldMatth53798 @Nick51241 @cody_illini Hey if you’re able to find the article he’s referencing too I can get u the info, some of us on here aren’t entitled pricks who think because they pay for something it makes them better than others!
English

@Brandon_Gray15 @IllinoisBball5 Ben was maybe the worst defender in the history of basketball until he got to Illinois, Brad beat the effort into him and built him into someone who tried on defense. I would trust Brad to do the same with this guy too.
English

@IllinoisBball5 He’s a negative on defense. His offense is great, but rather have someone that is 3&D
English

#illini Blackwell, Vaaks, and Retention. We’re going to Detroit
FriarMelo@Friarmelo
Stefan Vaaks is really the 7th best player in the portal ??? Whatever team takes him is gonna learn real quick that value
English
NotChaseCantMiss retweetledi

@BearsFanSteven @BrettKollmann You don’t think Dennis Allen would want arguably the best DT in football?
English

@BrettKollmann Not sure if Dennis Allen would agree to the move since he does not fit his prototype DT.
English

The U.S. Military could not keep Ryan Poles away from that phone
Adam Schefter@AdamSchefter
ESPN sources: Giants All-Pro defensive tackle Dexter Lawrence has requested a trade and he will not be participating in the team’s off-season workout program that opens Tuesday. Lawrence and the Giants have been through two off seasons attempting to negotiate a contract reflecting his value to the Giants over the last three years, but there has not been any progress, per sources.
English

I had a dream last night that the #Bears drafted a kicker from Duke I’d never heard of before in the third round
I need the draft to get here ASAP man this is just sad
English

@BeeW1937997 @ToonHive Just got done watching it and it’s actually funny how somebody who knows the game they’re talking about absolutely loved the movie. Yall went on here to complain like a bunch of arrogant little spoiled toddlers who still need Binky’s in their mid 40’s.
English

@ChaseCanMiss @ToonHive Literally the fucking Sonic Movies just showed them how to do it, but they couldn't be bothered to reach that level. We're not asking for Gone With the Wind. Just SOMETHING.
We'll watch it, laugh and cheer, then we forget about it in a year or so.
English

@dryad_druid @bioshocker360 @ToonHive I jus went to see it and I can assure you it was genuinely amazing im ngl😭 cleared the first one
English

@ChaseCanMiss @bioshocker360 @ToonHive MARIO HAS GOOD STORIES! You can do a great movie with Mario elements but they just don't want to because people would eat anything. This movie it's literaly name after one of them.
English

@ChaseCanMiss @ToonHive - to be a deep story, but to be treated with respect and use what made Galaxy so beloved, which is its story.
If your argument to defend this is this weak then it just tells me you have no argument at all. And quite frankly, I'm just gonna agree to disagree and move on from you
English

@ChaseCanMiss @ToonHive Live a little aka justify a MEDIOCRE MARIO movie because it has a lot of references to the games.
You don't even have that excuse when Sonic isn't 1 to 1 adaptation of the game, and they still managed to have good to great movies.
Galaxy deserved better than this.
English


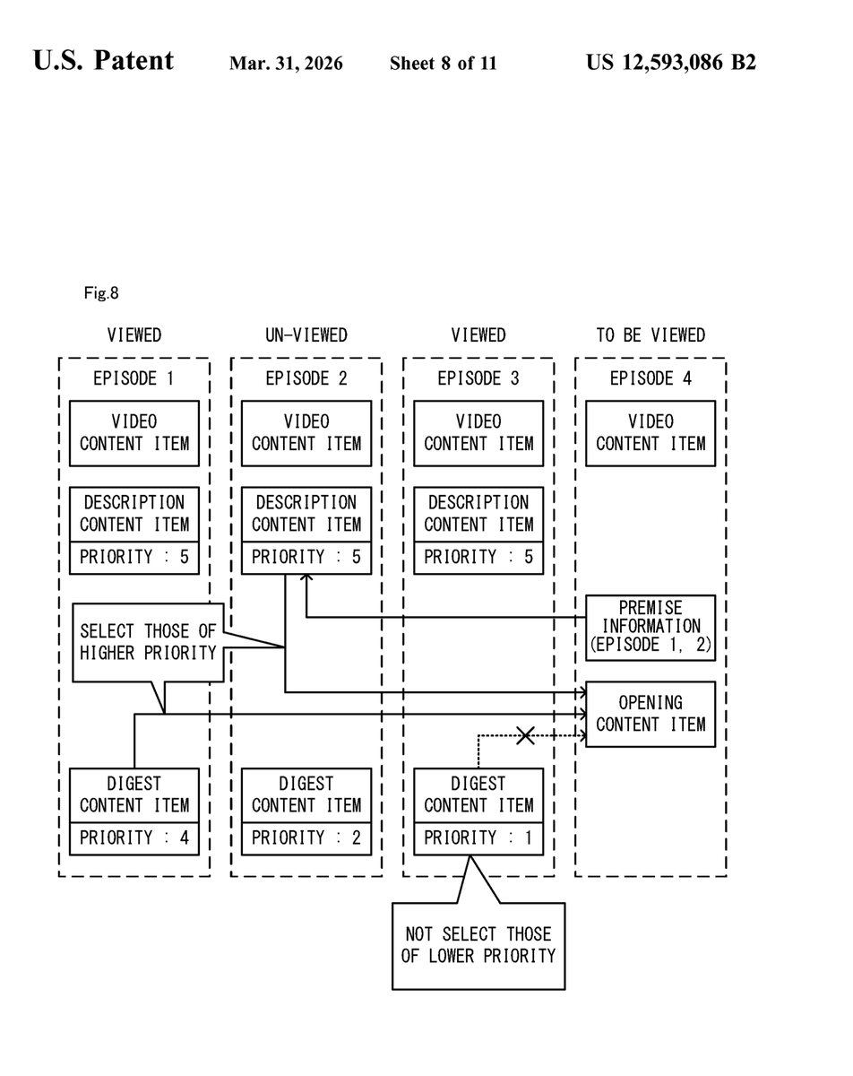
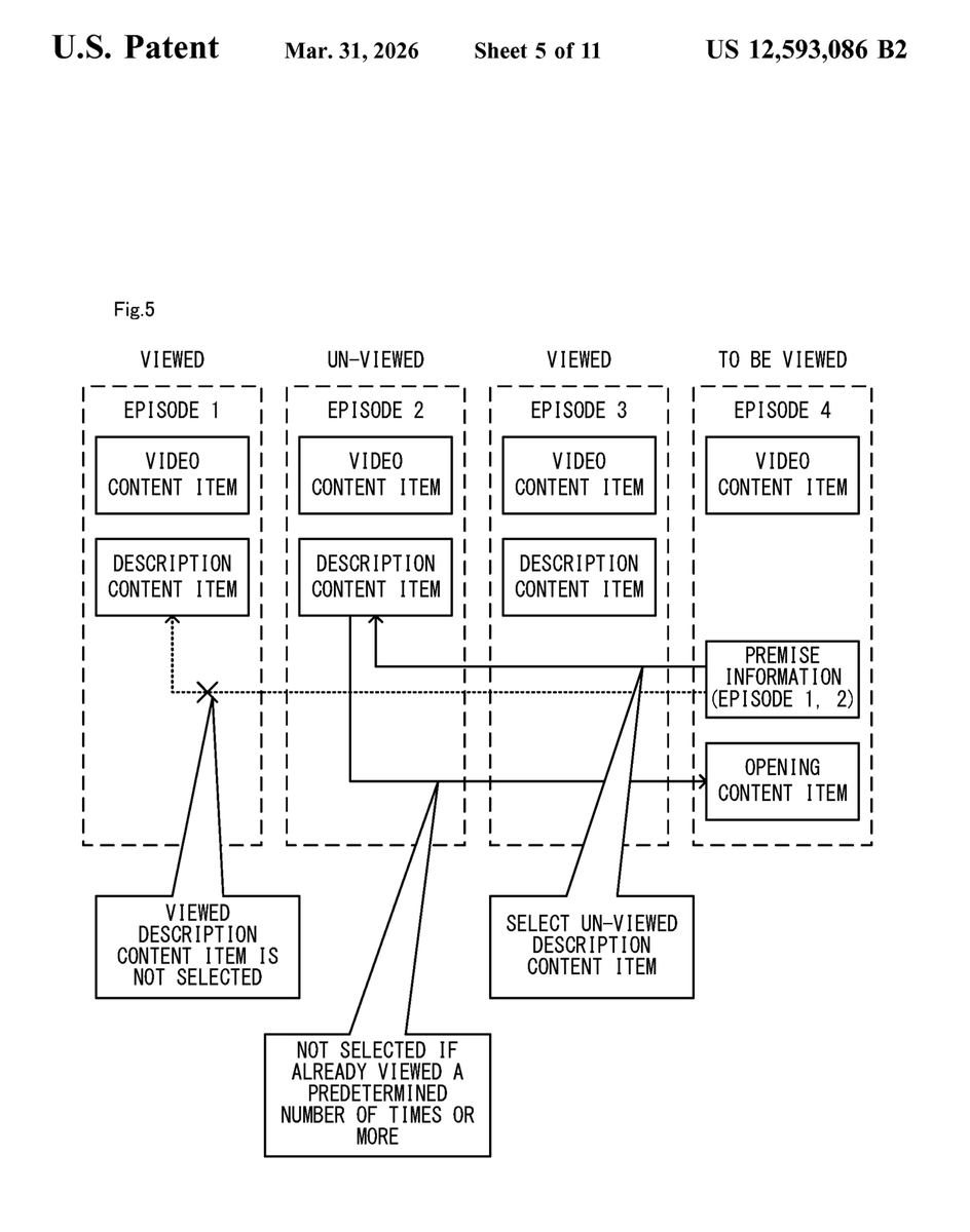
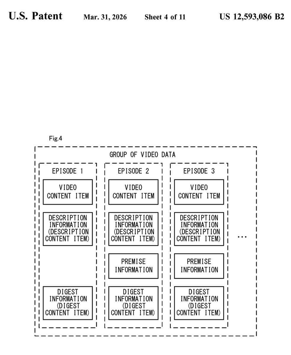
Nintendo looks to be launching their own movie and TV show streaming services that could be a part of NSO. This is an update to a patent I discovered a while back showcasing the services and episode watching mechanic. With Nintendo Pictures now on full swing and the NCU, I cant wait to see what shows we get.




English

@BeeW1937997 @ToonHive Let me recorrect that, what I really mean is that you can’t expect a different story from videogame movies that have very basic plots, there’s only so much you can do differently
English

@BeeW1937997 @ToonHive This I can understand but I feel like you can’t expect a story out of a videogame movie ESPECIALLY Mario. It’s a 2D run to the right platformer where you save the princess. Other games have deep lore, Mario just doesn’t and that’s okay! The movie will be fun that’s what matters.
English

@proto257 @ToonHive Spider-Man and Puss In Boots are very story oriented animated movies(haven’t seen Hoppers yet so can’t have a take on it)
EVERY Mario story is literally do whatever it takes to save the princess lol. There are some to be taken seriously and some meant for fun. Live a little.
English

@ChaseCanMiss @ToonHive Spider-verse, Pussy in Boots the Last wish, Hoopers, etc.
This kind of mentality is why animation can never be taken seriously.
English











