Freund

855 posts

Freund

Freund

@Freund_cod

Call of Duty/Warzone Healthy skepticism. Enjoyer of testing, research and data.

Katılım Şubat 2024
242 Takip Edilen455 Takipçiler
Sabitlenmiş Tweet
Freund
Freund@Freund_cod·
This guy really just saw the word "camera" and made up that Activision is secretly using your webcam or something. Yes, NvCamera64.dll is Nvidia Ansel. It's an in-game camera that lets you take photographs and has nothing to do with your webcam. It is included with the Nvidia display driver, and is bundled with Freestyle which let's you apply filters to your game. It will be loaded into any compatible/supported game, and this is not "malicious in nature" or "suspicious" like this guy says in his video. Disabling Photo mode (Ansel) in the Nvidia App/GeForce Experience, or just disabling Ansel by itself, will stop the .dll from loading.
Freund tweet mediaFreund tweet mediaFreund tweet mediaFreund tweet media
English
5
8
60
10.6K
Freund
Freund@Freund_cod·
@ProReborn @Reidboy24 Def not an entirely easy thing to implement perfectly. For starters there should at least be a visual indicator so that you understand what happens lol.
English
1
0
0
45
Nick “ProReborn”
Nick “ProReborn”@ProReborn·
@Freund_cod @Reidboy24 IMO it should be distance based and only long distance, and turned off on small maps. If you’re shooting across the map and they just spawned on a bigger map then I get it but if you’re within medium range/close then its like ??? Like bad spawns are gonna happen
English
1
0
0
96
Nick “ProReborn”
Nick “ProReborn”@ProReborn·
@Freund_cod @Reidboy24 putting that in nuketown is so stupid. Its like they don’t play their own game. If you play on the cardboard box sized map, then you should suffer the consequences of bad spawns. The map is small
English
1
0
0
76
Freund
Freund@Freund_cod·
@ProReborn @Reidboy24 Yes it appears to still deal a tiny amount of damage, and it’s only active in some modes. But yeah the hit marker won’t show until it registers on the server, this is a pretty good demonstration I guess
English
1
0
2
75
Freund
Freund@Freund_cod·
@ProReborn @Reidboy24 Unlike in most supposed skill-based damage clips, here the server is registering and authorizing the hits fine and giving hit markers, though. In this case it’s just spawn protection.
English
1
0
0
196
Nick “ProReborn”
Nick “ProReborn”@ProReborn·
@Reidboy24 Server authority > client. Server was so unfathomably de-synced with client, client registered hits and server disagreed and rejected it. What happens when your game is ran like crap. Shouldn’t really ever happen but I bet their servers are ran as cheap as possible.
English
7
0
43
3.5K
Laughted
Laughted@LaughtedTwo·
Treyarch a répondu que le "SKILL BASED DAMAGED" n'existe pas sur Call of Duty Black Ops 7 et je le crois à 2'000% que le script n'est pas là .... Mais à un moment quand tu sors des clips comme ça, à quel moment tu veux prendre au sérieux leur dire ....
Français
60
37
502
303.9K
Freund
Freund@Freund_cod·
@subonekd Damn Sony. I always suspected that I’ve been made to chant brand names while watching TV, but now I know for sure.
English
0
0
1
28
Subonekd
Subonekd@subonekd·
@Freund_cod Definitely. Oh yeah and you have to shout the in the order they appear like Simon says, or they keep adding new ones.
English
1
0
1
74
Freund
Freund@Freund_cod·
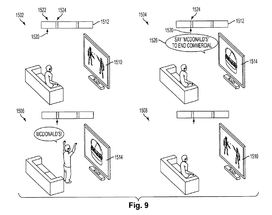
Sony (actually) has a patent where you have to say the advertiser’s name out loud to skip ads. So obviously we've all been doing that for years. That’s what a patent means.
Freund tweet media
Orwell & Goode@OrwellNGoode

English
1
0
3
234
Freund
Freund@Freund_cod·
I don't believe Activision, I believe it's not real because I have no reason to believe otherwise. I don't need proof that Activision can do it. I'm confident they can. I'm sure all game developers have control of how much damage the guns deal in their games. It wouldn't be absolutely crazy to think that they are doing it, but I want to know if they actually are or not.
English
1
0
1
40
Ghosty
Ghosty@ghost97417·
@Freund_cod @ItzSlickerz @subonekd @Reidboy24 If they can do it with their anti cheat they can also use it in other areas of the game. What more proof do you need. They have a patent for this, they've already used it in their anti cheat. Would it be absolutely crazy for anyone to think they use it on players?
English
1
0
0
52
Freund
Freund@Freund_cod·
The part in the patent about player damage and accuracy isn't about cod, just like the parts in the patent about basketball, skill-based character customization options, skill-based puzzle difficulty, skill-based likelihood of being targeted by an enemy, and skill-based friendly-fire damage aren't about cod. Also, while they can of course do whatever they want in any game, the patent is obviously written with coop pve in mind. It's essentially just a text document where someone has brainstormed and written down things you could theoretically adjust based on player skill level in different games, because they wanted a patent and that's how you write patents—not because they were describing how cod works or features they ever planned on implementing. The patent really isn't the proof people thinks it is, because it's just a patent. It is even expressly limited to only cover situations where you have a teammate, so anyone who likes to play FFA or WZ solos can relax and know that at least their games aren't rigged... I don't know how anyone can prove that it doesn't exist in cod. It's obviously more appropriate to try and prove that it does exist, and so far no one has. Still, Matt did just say that there are no secret damage adjustments, and when it comes to Ricochet damage mitigations they have said that they "will never interfere in gunfights between law-abiding community members". callofduty.com/blog/2022/02/c…
English
1
0
0
37
Ghosty
Ghosty@ghost97417·
@ItzSlickerz @subonekd @Reidboy24 I have a patent that literally describes what we are saying. We already have proof. Now show me yours and no video of two accounts on the edge of the map shooting each other. Actual written proof that is from activision that states that there is no such thing
English
1
0
0
57
INN3XX
INN3XX@Star____Man·
@ModernWarzone blatant gaslighting. they literally have patents saying otherwise.
English
12
0
96
8.1K
ModernWarzone
ModernWarzone@ModernWarzone·
Treyarch Design Director Matt Scronce confirms that Skill Based Damage is NOT in Call of Duty: Black Ops 7 ❌ “I can promise you, there’s nothing behind the scenes modifying any of our damage values.”
ModernWarzone tweet media
English
160
32
1.2K
126.3K
Freund retweetledi
Matt Scronce
Matt Scronce@MaTtKs·
@Reidboy24 I can promise you, there's nothing behind the scenes modifying any of our damage values.
English
62
15
600
25.5K
Freund
Freund@Freund_cod·
Yeah that's the description/specification. It does say player damage there, but the important part is the claims section, which defines the scope of the patent and what it actually legally covers. There damage is omitted, meaning the patent doesn't actually cover damage adjustments in any context (other than the explicit friendly-fire damage). The part about damage in the description is unclaimed subject matter and not "patented", kind of like examples and ideas they had that didn't make it into the actual patent for some reason.
English
0
0
0
45
Freund
Freund@Freund_cod·
Actually, Activision has no patent for damage specifically. And the Sony patent application didn't get a pass, it including multiple "nerfs" was kind of the reason it was rejected. You have to be specific in a patent. The Activision patent that mostly resembles and that's often considered to be about skill-based damage was rejected several times too, until they narrowed it by limiting it to a set of specific nerfs/adjustments. Damage was not one of them, though (only friendly-fire damage). While I get what you're saying, skill-based damage is the one thing not covered by the patent.
Freund tweet media
English
1
0
0
90
Ghosty
Ghosty@ghost97417·
@subonekd @Reidboy24 Activision already has a skill based damage patent. Maybe since Sony's includes multiple nerfs in one patent might get them a pass. But there is 100% a skill based damage patent owned by activision.
English
2
0
3
630
Freund
Freund@Freund_cod·
@subonekd @Reidboy24 Why is everyone so mad at Sony for trying to prevent people from doing this?😄 It’s just an application though so no patent yet
English
1
0
0
511
Subonekd
Subonekd@subonekd·
@Reidboy24 If Sony patented this it literally cannot be in the game, or the patent would be challenged immediately.
English
4
0
24
4K
Freund
Freund@Freund_cod·
Since many won't read the actual patent specification, it could be worth pointing out that it also describes examples of how there are visual notifications that indicate if the feature is active and when the player or someone else in the game is receiving "adjustments", as well as an option to enable or disable the feature for yourself. It could be implemented in a ”fair” and transparent way and doesn’t have to be something nefarious or secret, or used it your favorite game at all. Also, it's not that new and it's not a patent. It's a patent application, originally filed in 2023, which was recently published. No patent has been granted and we don't know if it will be. The US application was rejected for being too abstract meaning they'll have to make amendments to the claims. And if it is granted, it's just a patent—it doesn't really mean anything and doesn't have to be "used". It's just theoretical. Sony has other patents they don't "use", which is very common. If you think it sounds bad then be glad Sony are trying to stop their competitors from being able to do it by patenting it.
Freund tweet media
English
0
0
1
179
Pirat_Nation 🔴
Pirat_Nation 🔴@Pirat_Nation·
Sony has published a patent for dynamically adjusting (nerfing or buffing) players in multiplayer sessions to balance cross-platform like console, PC, and mobile. The technology would monitor hardware, input methods, and skill levels in real time Then nerf or buff players, such as by reducing speed or reaction times for console and PC users to balance disadvantages faced by mobile players using touch controls.
Pirat_Nation 🔴 tweet mediaPirat_Nation 🔴 tweet media
English
1.3K
461
7.6K
1.7M
PronounPolice🚨
PronounPolice🚨@PronounPolice88·
@ExoGhost I might have to reinstall it and make some more skill based damage video clips
English
3
0
10
2.6K
ExoGhost
ExoGhost@ExoGhost·
Black Ops 7 is officially dead Modern Warfare 2019 has more players than Call of Duty HQ, which means it has more players than Black Ops 6, Black Ops 7 and Black Ops Royale COMBINED People are showing Activision what kind of Call of Duty they really want.
ExoGhost tweet mediaExoGhost tweet media
English
210
192
4K
357.2K
Freund
Freund@Freund_cod·
The first shot looked like a fair miss, which is supported by the fact that it did miss. He wasn't aiming right at his head, he was aiming right above the backback if anything. Shot four did hit and register, which is why you see a hit marker. There weren't multiple issues. It's just a funny clip of someone missing several shots. It's not always netcode or skill-based hit reg.
Freund tweet mediaFreund tweet media
English
1
0
0
200
PronounPolice🚨
PronounPolice🚨@PronounPolice88·
@jasper_nld @Battlefield6hub 4 didn’t register. That means multiple other issues were occurring with the aim assist and tracking due to this. The other shots missing are irrelevant and caused by the shots like 4 that didn’t register. Muscle memory adjusts aim when hit registration fails.
English
1
0
2
45