Bam-a-Tron the Salinator

12.5K posts

Bam-a-Tron the Salinator banner
Bam-a-Tron the Salinator

Bam-a-Tron the Salinator

@LookingRightAtI

The People who Spread the Gospel are Israel Know them by their Fruits And for this cause God shall send them strong delusion, that they should believe a lie

The Kingdom شامل ہوئے Temmuz 2016
1.7K فالونگ1.8K فالوورز
Bam-a-Tron the Salinator
Bam-a-Tron the Salinator@LookingRightAtI·
@andreas_nigbur I'm totally shocked they died and disappeared into obscurity.. I wonder if this place is always this way or if its like yuga seasons
English
0
0
0
6
Andy
Andy@andreas_nigbur·
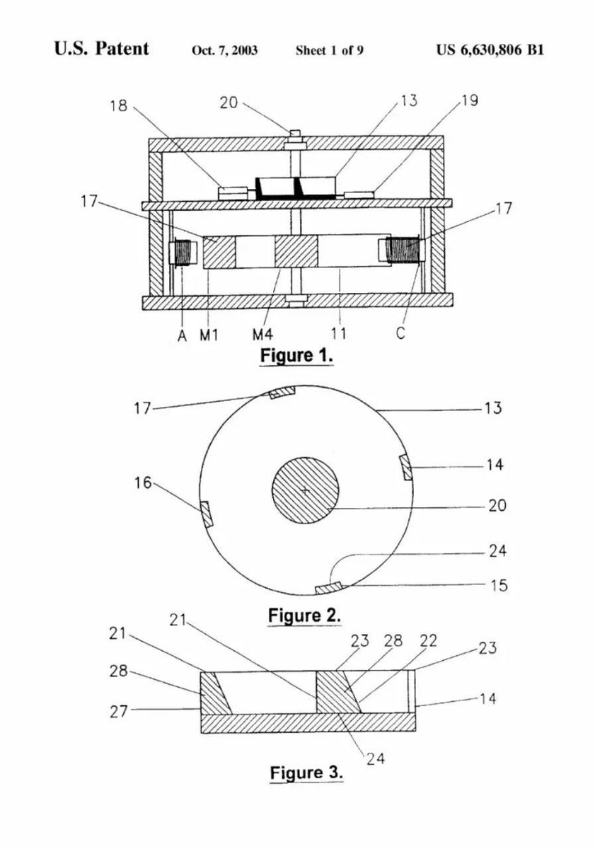
🧐 John Christie, an Australian inventor, and his partner Lou Britz, a South African engineer, developed the Lutec 1000, a device for generating free energy. Although they achieved a breakthrough in the early 1990s, neither Christie nor Britz achieved commercial success with the device. Britz died under mysterious circumstances, and Christie was considered missing for years before finally passing away in 2017 at the age of 82. How convenient that they invent a new form of energy that could revolutionize the world, only for it to be suppressed! System for controlling a rotary device patents.google.com/patent/US66308…
Andy tweet mediaAndy tweet media
English
1
2
8
256
SonnyBoy🇺🇸
SonnyBoy🇺🇸@gotrice2024·
This woman hired this pressure washing company to do her driveway and entire house. The house was in such bad shape that it took them 6 hours. They were grateful for the work, they were one paycheck away from being homeless, it’s been a tough few months for them but this job would have ensured they had enough for rent. After they got done, she flat out refused to pay, she claims that she didn’t think the house was that bad at all. Regardless if she thought it was bad or not she still hired a service and a service was done. When contractors don’t get paid, they remove or undo what they did. How do these guys undue a clean home, shouldn’t there be a website that showcases bad customers so contractors and workers can be forewarned?
English
579
822
3.4K
991.6K
Bam-a-Tron the Salinator
Bam-a-Tron the Salinator@LookingRightAtI·
@Pecan_Nugga @Cristiano When I BBQ pig ears I dance with Gucci purse to sell.. peopel think I am weird so they get interest.. then they buy pig ear.. then I stop dancing around.
English
1
0
1
8
Bam-a-Tron the Salinator
Bam-a-Tron the Salinator@LookingRightAtI·
@LearnToToad she has a male physique -- no hips at all.. and a giant rack which is easy to install.. with hair make-up anyone in their 20's can be a pretty girl if thay arent obese or deformed... thats a tr@nnee -- they displace the body shape with massive tattaz
English
0
0
0
29
Melian Refugee
Melian Refugee@escapefrommelos·
italian daytime TV is just like this millions of sweet old nonnas are watching this at 3pm while making ravioli
English
93
114
3.4K
334.5K
The Honey Badger
The Honey Badger@Nance726·
🧐 I’m calling bullshit on this Laura Loomer vs. Roger Stone feud as long as he still subscribes to her. Yes. He subscribes to her.
The Honey Badger tweet mediaThe Honey Badger tweet mediaThe Honey Badger tweet mediaThe Honey Badger tweet media
English
23
13
88
2.8K
Bam-a-Tron the Salinator
Bam-a-Tron the Salinator@LookingRightAtI·
@mrjeffu ya-- its also common that there is no realistic space to unload and unshoe realistically without doing some serious BS nihonjin ojichan prostration. its no problem in the old Kominka. but its a mess in new places
English
0
0
2
494
Jeffrey J. Hall 🇯🇵🇺🇸
This video of foreign tourists is going viral in Japan because they don't seem to realize the red line on the floor of their hotel room is meant to show where they need to take off their shoes. Overseas it's not rare to wear shoes inside hotel rooms.
English
401
220
3.6K
1.8M
Pecan
Pecan@Pecan_Nugga·
@Cristiano I think it's cringe and gay when guys pose for pictures, post them on social media, and then seek approval
English
2
0
12
639
Bam-a-Tron the Salinator
Bam-a-Tron the Salinator@LookingRightAtI·
@MorganC000 @Apostate__Monk People have a lot of trouble believing that the bank wants to do something, but requires pretext so they create a group of opposition to generate validation in the public jaundiced eye...
English
0
0
3
21
Morgan
Morgan@MorganC000·
@Apostate__Monk So you can kinda see how they’re nothing more than a tool of empire right?
English
4
0
18
393
Rickard Sarkis
Rickard Sarkis@Apostate__Monk·
Hezbollah has cost Lebanon at least 10 billion USD in just 45 days for 6 fireworks and an old man in Iran.
English
40
48
351
11.7K
Bam-a-Tron the Salinator
Bam-a-Tron the Salinator@LookingRightAtI·
@pvtjokerus or they're like nature sculpture in the forrest.. but they aren't fing up nature.. as if they are made of dried microplastic eco-terror testicules or sumpim
English
0
0
0
169
Bam-a-Tron the Salinator
Bam-a-Tron the Salinator@LookingRightAtI·
@NEO196909 I didn't read that much, but I dont doubt it.. Snipers aren't ultimately doing math, just like basketball players or Golf.. they pretend to do math a bit.. but the reality is that anytime we really nail something its more like magic-- will, feel, skill and visualization
English
0
0
1
10
Milli093
Milli093@NEO196909·
@LookingRightAtI His chat on coriolis where he says he never used it for the longest shot and just "winged it" 🥰
English
1
0
1
6
Milli093
Milli093@NEO196909·
We all know you cannot answer the 3 Q's with your own workings 🤣🤣🤣🤣🫵🤡
Claymore729@Claymore729

@NEO196909 You first. You're the one claiming that a "Craig Harrison" exists who talks about the Coriolis force in defiance of the Internet.

English
1
0
1
22
Bam-a-Tron the Salinator
Bam-a-Tron the Salinator@LookingRightAtI·
@NEO196909 You're all wrong -- ships axully just sink if there is no observer keeping it afloat. If you have a zoom camera, you collapse the probability wave of the ship and it pulls it back up from the bottom of the ocean. Try some Science!!
GIF
English
0
0
1
5
Manlet King ☩
Manlet King ☩@TheManlet_King·
"I'm from Baskin-Robbins and I say eat'em all!"
Manlet King ☩ tweet media
English
16
130
1.4K
19.7K